| 일 | 월 | 화 | 수 | 목 | 금 | 토 |
|---|---|---|---|---|---|---|
| 1 | 2 | 3 | 4 | |||
| 5 | 6 | 7 | 8 | 9 | 10 | 11 |
| 12 | 13 | 14 | 15 | 16 | 17 | 18 |
| 19 | 20 | 21 | 22 | 23 | 24 | 25 |
| 26 | 27 | 28 | 29 | 30 |
- HTML공부
- sql독학
- 기획공부
- AICE시험후기
- 도그냥
- SW캠프단점
- SW캠프장점
- SQLD공부방법
- SQL
- 피그마
- 처음부터다시배우는웹기획
- 서비스기획스쿨
- AICEBASICE
- 스파르타코딩클럽
- 이미준PO
- SW캠프비전공자후기
- html
- html독학
- 생활코딩
- 기획자도서추천
- css독학
- 생활코딩html
- 기획관련도서
- SW캠프솔직후기
- Til
- 기획자책
- 도그냥강연
- 웬즈데잇
- css생활코딩
- 코린이독학
- Today
- Total
브리의 성장기
[용어정리] OAuth 개념이 궁금해 본문
얼마 전 서비스 구현 회의에서, OAuth 로그인 이라는 단어가 나왔다.
나에게 생소한 단어라 궁금해져 알아보았는데, 전혀 낯선 기능은 아니었다. 이에 대해 조금 더 자세히 알아보았다. : )
💡 OAuth 란?
구글, 페이스북, 트위터와 같은 다양한 플랫폼의 특정한 사용자 데이터에 접근하기 위해
third_party application 예써 사용자의 접근 권한을 위임(Delegated Authorization)받을 수 있는 표준 프로토콜이다.

쉽게 풀어서 얘기하면, third-party 서비스에서도 인증을 가능하게 하고 그 서비스의 API를 이용하게 해주는 것.
이것을 바로 OAuth라고 한다.
예) 외부 웹 어플리케이션에 Google로 로그인하면 API를 통해 연동된 계정의 Google Calendar 정보를 가져와 사용자에게 보여줄 수 있다.
💡 OAuth 는 왜 사용할까?
1. 유저는 third party Application에 아이디와 비밀번호를 제공하는 것에 거부감이 있다.
2. OAuth 가입을 통해 복잡한 step 을 건너뛰고 빠르고 간편하게 가입 가능하여 허들이 낮다.
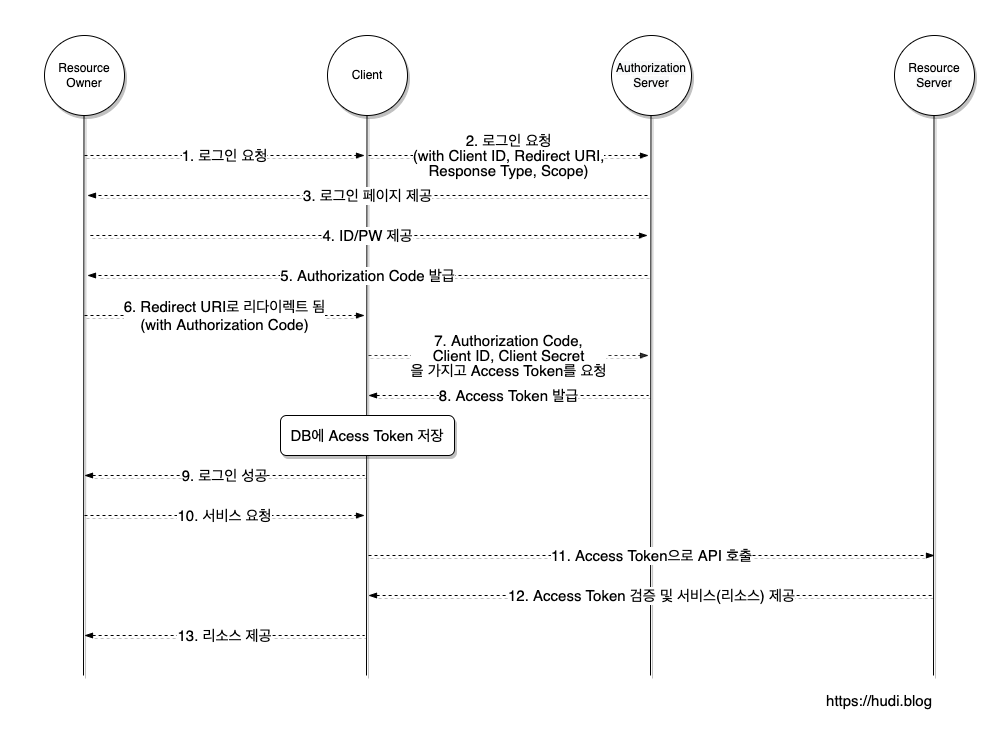
💡 OAuth 플로우
아래 도식의 출처(https://hudi.blog/oauth-2.0/) 각 단계별 정말 잘 정리가 되어있다.
아래 도식에서 OAuth 동작에 관여하는 참여자에 대해 설명하자면,
Resource Server : Client가 제어하고자 하는 자원을 보유하고 있는 서버 (네이버/카카오/구글 등)
Resource Owner : 자원의 소유자 (Client가 제공하는 서비스를 통해 로그인하는 실제 유저)
Client : Resoure Server에 접속해서 정보를 가져오고자 하는 클라이언트(웹 어플리케이션)

지금까지 OAuth를 왜 사용하는지, 그리고 어떻게 OAuth를 통하여 인증하는지에 대해 알아봤다.
OAuth를 사용하면 OpenID와 같이 한 곳에서 인증을 담당하고 외부에서 쓸 수 있는 장점 뿐만 아니라, 부가적인 서비스에 권한을 걸 수 있다.
또한 유저가 회원가입 시 느끼는 부담을 줄이고 사용 편의성을 높일 수 있다.
'나의 글로 정리하기' 카테고리의 다른 글
| [용어정리] 마테크 Mar-Tech 란 무엇일까? (0) | 2023.09.27 |
|---|---|
| [용어정리] PRD 작성 방법 (1) | 2023.02.20 |
| [용어정리] BCG 매트릭스의 개념 (0) | 2023.02.20 |
| [용어정리] MVP 개념과 이해 (0) | 2023.01.27 |
| [용어정리] OG(Open Graph)의 개념과 쓰임 (0) | 2023.01.24 |